Справочник строителя | Теплоизоляция кровель
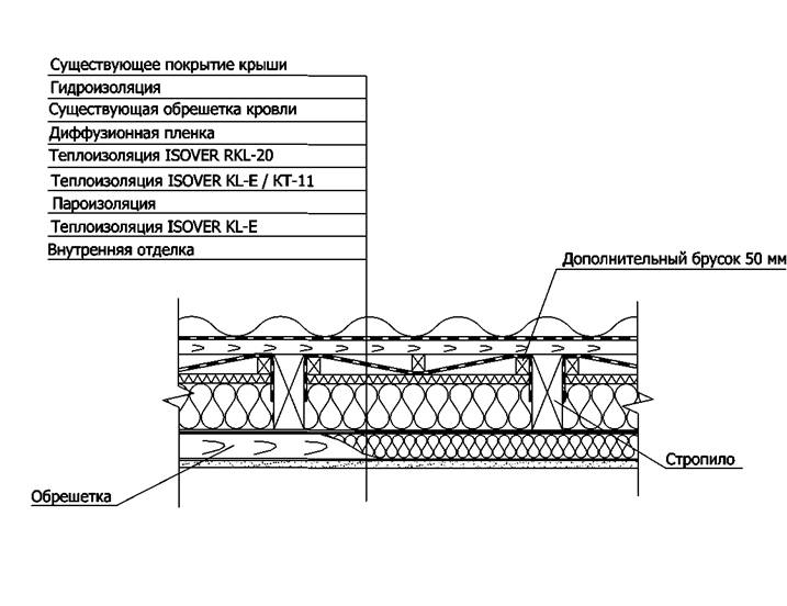
Утепление существующей скатной крыши с использованием диффузионной пленки
Компания «Сан-Гобэн Изовер» осуществляет продажу теплоизоляционных материалов ISOVER по всей территории России через сеть официальных дистрибьюторов. Основные центры продаж: Москва, Петербург, Нижний Новгород, Краснодар, Новосибирск, Екатеринбург.Компания имеет шесть офисов: Москва, Петербург, Нижний Новгород, Ростов-на-Дону, Екатеринбург, Новосибирск. Всеми операциями управляет московский офис компании. Сан-Гобэн Изовер 123022, Москва, 2-я Звенигородская ул., 13, корп.15; Тел. (495) 775-15-10 (многокан.), факс 775-15-11 |
|
|
Вернуться к списку
|
Распечатать
|


